振動篩篩網固定裝置設計技術及原理
作者 新鄉天太振動機械
來源 www.fjshrzdb.com
瀏覽
發布時間 2021/07/16
本技術涉及一種振動篩篩網固定裝置,振動篩是制砂生產線的配套設備,振動篩的編織結構是預先彎曲成波紋形式金屬絲,使兩個彎曲卡在相同位置,保證網孔的大小,振動篩有雙向波紋彎曲,緊鎖彎曲,雙向隔波彎曲,平頂彎曲,單向波紋彎曲,結構堅固,多用于礦山,煤礦,建筑,玻璃廠,石油,五金制品行業等,在振動篩設備中有用來固定篩網的固定裝置,但是現有技術存在以下不足:
1、現有的框架篩網使用一塊直接楔緊篩網的固定方式,這種固定方式在使用過程中,存在由于振動的作用或零部件變形會使楔塊容易松動,楔塊松動會導致篩網無法壓緊,最后導致篩網完全脫落的后果,影響力振動篩的正常工作的問題。
2、傳統的振動篩架壓緊固定裝置存在不但安裝拆卸不方便,而且在擰動螺母時會將金屬材質掉落在物料中,對物料造成污染,進而影響力物料的質量的問題。

技術實現要素:
針對目前技術的不足,本技術提供了一種振動篩篩網固定裝置,解決了現有的框架篩網使用一塊直接楔緊篩網的固定方式,這種固定方式在使用過程中,存在由于振動的作用或零部件變形會使楔塊容易松動,楔塊松動會導致篩網無法壓緊,最后導致篩網完全脫落的后果,影響力振動篩的正常工作和傳統的振動篩架壓緊固定裝置存在不但安裝拆卸不方便,而且在擰動螺母時會將金屬材質掉落在物料中,對物料造成污染,進而影響力物料的質量的問題。
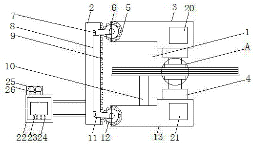
為實現上述目的,本技術提供如下技術方案:一種振動篩篩網固定裝置,包括振動篩本體、U形支撐桿、第一臂手、伸縮桿、圓齒輪、第一振動頻率模塊和第二振動頻率模塊,所述第一臂手內部左端設置有第一振動頻率模塊,所述第一臂手右端設置有齒輪槽,所述齒輪槽內安裝有轉軸,所述圓齒輪套接在轉軸上,所述U形支撐桿與圓齒輪之間通過輪齒滾動連接,所述U形支撐桿內部設置有滑槽,所述滑槽上設置有固定軸,所述轉軸與固定軸之間通過連接桿固定連接,所述第二臂手的內部左端設置有第二振動頻率模塊,所述第二臂手上端中間設置有伸縮桿,所述伸縮桿上端安裝有托盤,所述第二臂手與托盤之間安裝有第二縱橡膠墊,所述托盤的上方安裝有塑料墊層,所述塑料墊層的上方放置有篩網,所述篩網的上方設置有橫橡膠墊,所述第一臂手與橫橡膠墊之間安裝有第一縱橡膠墊,所述控制臺包含有顯示屏、按鈕、紅色指示燈和綠色指示燈。
進一步的,所述U形支撐桿左側表面設置有輪齒,所述圓齒輪表面設置有輪齒。
進一步的,所述紅色指示燈和綠色指示燈位于控制臺的頂部,所述顯示屏設置在按鈕的上方。
進一步的,所述第一臂手的坐下端安裝有防護墊,所述第二臂手的左下端安裝有防護墊。
進一步的,所述控制臺與第一振動頻率模塊和第二振動頻率模塊之間電性連接。
本技術提供了一種振動篩篩網固定裝置,具備以下有益效果:
1、本技術通過設置第一振動頻率模塊和第二振動頻率模塊結構,使用時,第一振動頻率模塊和第二振動頻率模塊感應到振動篩裝置的振動頻率,振動頻率數值會顯示在顯示屏上,當振動頻率數值越大第一臂手與第二臂手之間的氣壓力也會越大,當振動頻率數值越小第一臂手與第二臂手之間的氣壓力也會越小,從而解決了現有的框架篩網使用一塊直接楔緊篩網的固定方式,這種固定方式在使用過程中,存在由于振動的作用或零部件變形會使楔塊容易松動,楔塊松動會導致篩網無法壓緊,最后導致篩網完全脫落的后果,影響力振動篩的正常工作的問題。
2、本技術通過設置第一臂手、第二臂手、U形支撐桿、圓齒輪和控制臺結構,使用時,第一臂手和第二臂手通過圓齒輪在U形支撐桿上滾動,使得第一臂手與第二臂之間反向運動或相向運動,從而解決了傳統的振動篩架壓緊固定裝置存在不但安裝拆卸不方便,而且在擰動螺母時會將金屬材質掉落在物料中,對物料造成污染,進而影響力物料的質量的問題。
附圖說明

圖中:1振動篩本體、2U形支撐桿、3第一臂手、4防護墊、5齒輪槽、6轉軸、7固定軸、8滑槽、9輪齒、10伸縮桿、11連接桿、12圓齒輪、13第二臂手、14第一縱橡膠墊、15橫橡膠墊、16塑料墊層、17第二縱橡膠墊、18篩網、19托盤、20第一振動頻率模塊、21第二振動頻率模塊、22控制臺、23顯示屏、24按鈕、25紅色指示燈、26綠色指示燈。
工作原理:
使用時,第一臂手3和第二臂手13通過設置控制臺22的調控相向運動或反向運動,這樣設置有利于篩網18的更換,減少了篩網18的更換時間,進而提高了工作效率,設置第一臂手3的內部左端設置了第一振動頻率模塊20,設置第二臂手13的內部左端設置了第二振動頻率模塊21,當振動頻率增加時,第一臂手3和第二臂手13之間的擠壓力也增大,當振動頻率減少時,第一臂手3和第二臂手13之間的擠壓力也減小,設置第一縱橡膠墊14、橫橡膠墊15和第二縱橡膠墊17有緩沖作用,使得第一臂手3與第二臂手13相向運動時所受撞擊力有所緩沖,進而增加了第一臂手3和第二臂手13的使用壽命,設置塑料墊層16對篩網18有保護作用,使得篩網18不易被壓壞,進而增加了篩網的使用壽命,當振動篩設備正在工作或正常狀態時,設置綠色指示燈26亮燈,當對振動篩設備進行維修保養時,紅色指示燈25亮燈,這樣設置方便人們判斷振動篩設備使用狀態。
綜上可得,本技術通過設置第一臂手3、圓齒輪12、第二臂手13、第一振動頻率模塊20和第二振動頻率模21塊結構,解決了現有的框架篩網使用一塊直接楔緊篩網的固定方式,這種固定方式在使用過程中,存在由于振動的作用或零部件變形會使楔塊容易松動,楔塊松動會導致篩網無法壓緊,最后導致篩網完全脫落的后果,影響力振動篩的正常工作和傳統的振動篩架壓緊固定裝置存在不但安裝拆卸不方便,而且在擰動螺母時會將金屬材質掉落在物料中,對物料造成污染,進而影響力物料的質量的問題。
技術特征:
1、一種振動篩篩網固定裝置,包括振動篩本體(1)、U形支撐桿(2)、第一臂手(3)、伸縮桿(10)、圓齒輪(12)、第一振動頻率模塊(20)和第二振動頻率模塊(21),其特征在于:所述第一臂手(3)內部左端設置有第一振動頻率模塊(20),所述第一臂手(3)右端設置有齒輪槽(5),所述齒輪槽(5)內安裝有轉軸(6),所述圓齒輪(12)套接在轉軸(6)上,所述U形支撐桿(2)與圓齒輪(12)之間通過輪齒(9)滾動連接,所述U形支撐桿(2)內部設置有滑槽(8),所述滑槽(8)上設置有固定軸(7),所述轉軸(6)與固定軸(7)之間通過連接桿(11)固定連接,所述第二臂手(13)的內部左端設置有第二振動頻率模塊(21),所述第二臂手(13)上端中間設置有伸縮桿(10),所述伸縮桿(10)上端安裝有托盤(19),所述第二臂手(13)與托盤(19)之間安裝有第二縱橡膠墊(17),所述托盤(19)的上方安裝有塑料墊層(16),所述塑料墊層(16)的上方放置有篩網(18),所述篩網(18)的上方設置有橫橡膠墊(15),所述第一臂手(3)與橫橡膠墊(15)之間安裝有第一縱橡膠墊(14),所述控制臺(22)包含有顯示屏(23)、按鈕(24)、紅色指示燈(25)和綠色指示燈(26)。
2、根據實用需求1所述的一種振動篩篩網固定裝置,其特征在于:所述U形支撐桿(2)左側表面設置有輪齒(9),所述圓齒輪(12)表面設置有輪齒(9)。
3、根據實用需求1所述的一種振動篩篩網固定裝置,其特征在于:所述紅色指示燈(25)和綠色指示燈(26)位于控制臺(22)的頂部,所述顯示屏(23)設置在按鈕(24)的上方。
4、根據實用需求1所述的一種振動篩篩網固定裝置,其特征在于:所述第一臂手(3)的坐下端安裝有防護墊(4),所述第二臂手(13)的左下端安裝有防護墊(4)。
5、根據實用需求1所述的一種振動篩篩網固定裝置,其特征在于:所述控制臺(22)與第一振動頻率模塊(20)和第二振動頻率模塊(21)之間電性連接。
技術總結
本技術公開了一種振動篩篩網固定裝置,包括振動篩本體、U形支撐桿、第一臂手、伸縮桿、圓齒輪、第一振動頻率模塊和第二振動頻率模塊,所述第一臂手左端內部設置有第一振動頻率模塊,所述第一臂手右端設置有齒輪槽,所述齒輪槽內安裝有轉軸,所述圓齒輪套接在轉軸上,所述U形支撐桿與圓齒輪之間通過輪齒滾動連接。本技術通過設置第一臂手、第二臂手、第一振動頻率模塊和第二振動頻率模塊結構,解決了框架篩網存在由于振動的作用或零部件變形會使楔塊容易松動,楔塊松動會導致篩網無法壓緊和傳統的振動篩架壓緊固定裝置存在不但安裝拆卸不方便,而且在擰動螺母時會將金屬材質掉落在物料中,對物料造成污染。
下一篇:[技術信息]上一篇:斗式提升機逆止裝置種類和優劣勢分析
此文關鍵字:振動篩,振動篩篩網,篩網固定裝置
最新產品
同類文章排行
- 怎樣調整旋振篩會使篩粉處理量增大?
- 多出料卸料口刮板輸送機技術特征及要點
- 旋振篩透篩率該怎樣提高?受那些因素影響
- 標準旋振篩改造成超聲波旋振篩需要哪些配件?
- 振動篩篩網固定裝置設計技術及原理
- 方形搖擺篩散料器改進及設計原理
- 振動篩分機在膩子粉行業的應用
- 方形搖擺篩抽拉式篩網結構設計技術及要求
- 滾筒篩有效解決篩分多棱狀物料篩網堵塞問題
- 斗式提升機逆止裝置種類和優劣勢分析